
IC卡多用户单相电表
MF1卡多用户单相电表,10(40)A、 数码管和字轮双显示、MF1卡、侧面刷卡、一表多卡、计金额机井卡结构,本产品广泛用于农业机井灌溉、校园、企业中,为校园、企业的节电工程做出了巨大贡献,逐渐成为一卡通的另一个重要终端设备。
- 技术参数
- 产品外观
- 现场图片
- 详述
| 1、准确度等级:1.0级; |
| 2、基本电流Ib(额定最大电流Imax):5(20)A,10(40)A,15(60)A和20(80)A; |
| 3、电表常数:1600 imp/kWh 、3200 imp/kWh(详见标牌); |
| 4、参比电压:220V; |
| 5、参比频率:50Hz; |
| 6、工作电压范围:AC 220±20%V; |
| 7、功耗:<0.5W; |
| 8、环境工作条件:-20℃ ~ +55℃,相对湿度不超过85%(+25℃); |
| 9、断电情况下电能表内数据可保存10年,IC卡刷卡次数10万次以上; |
| 10、起动:在参比电压、参比频率及COSф=1.0条件下,当负载电流为0.4%Ib时,电能表采样指示灯能连续闪亮; |
| 11、潜动:电能表在施加115%额定电压,电流回路断开时,电能表采样指示灯不闪亮; |
| 12、绝缘:电能表的所有线路对表壳间能经受波形为1.2/50μs,峰值为6kV的脉冲电压,在相同极性下冲击10次,不出现电弧放电和击穿现象。电能表的线路对地绝缘经受频率为50Hz的实际正弦波形的交流电压2kV历时一分钟的试验不击穿。 |
![]() |
![]() |
![]() |
![]() |
一、简介
| DDSY201型单相电子式预 付 费电能表是我公司研制、生产的新一代智能化电能表,它采用高精度、高可靠性的电子电能表集成电路,结合预付费处理电子模块而成,用以计量频率为50Hz的单相交流有功电能,各项技术指标符GB/T 17215.321—2008《交流电测量设备 特殊要求 第21部分:静止式有功电能表(1级和2级)》和GB/T 18460.3—2001《预付费电度表》的技术要求。它采用了目前国内先进的IC卡技术和SMT工艺,具有计量准确、精度稳定、性能可靠、功能齐全、低功耗、操作简单方便等优点,是我国改革用电体制、实现用电商品化的理想产品。 |
二、工作原理及主要特点
| 电表平时处于拉闸断电状态。刷卡开始用电,再次刷卡停止供电,用电信息记录在各自的卡中。在供电过程中,每用1度电,减去一度电的单价,单价到厘(0.001元),并在显示窗中显示,用户用电完毕后,再将卡靠近电表的卡感应区,电表将余额自动输入卡中,同时拉闸断电,卡中余额可继续使用。用电过程中若余额小于单价,电表将拉闸断电,用户需持卡刷卡取出剩余金额后充值后方能使用。 |
| 该电能表采用先进的非接触式射频卡(MF1卡,以下简称卡)技术,适用于多个用户共同使用一个电能表并分别计量电费的供电场合 |
三、安装与使用方法
| 1、电能表应在符合工作条件的环境中安装使用,不应受到振动和冲击。在有污秽和可能损坏机构的场所,应用保护箱保护; |
| 2、接入电能表的电压应符合参比电压值,电流不应超过额定最大电流值,应按接线图进行接线; |
|
3、电表使用前,需用设置卡对电表进行参数设置。设置卡设置电表读取数据的绝对块号、电表编号、电表常数、功能参数及设置读卡密码; 设置卡设置的功能参数是对2 种功能的选择,具体见下表: ![]() 注:特殊订制电能表没有无采样自动拉闸功能和延时断电功能。 |
| 4、IC卡靠近卡感应区,电能表合闸供电,同时显示器显示IC卡中的金额:“XX.XX”。此时可以将IC卡拿开; |
| 5、电能表合闸供电后,电能表将根据用电量和设定的电价自动核减金额,显示器动态显示剩余金额; |
| 6、再次将IC卡靠近卡感应区,电能表拉闸断电。用电过程中若金额减为“0”,则电能表自动拉闸断电; |
| 7、将IC卡靠近卡感应区,若显示器显示“ErrL”,则提示IC卡中无剩余金额,须充值后才能使用; |
| 8、用户在用电过程中可以根据需要控制电能表供电、断电; |
| 9、IC卡靠近卡感应区要停留数秒钟,合闸(或拉闸)后方可拿开。每次刷卡后须间隔5秒钟,才能再次刷卡 |
| 10、用户在使用过程中,突然停电,再来电时电能表不合闸,若该用户没把自己的金额取走,其他用户仍可继续使用。前一用户的用电信息被挂起在存储器中,可随时取走。最多可挂起3个用户,挂起记录存满后显示ERR4。电表中挂起记录存满后,可用检查卡将最后一户的记录及前三户的卡号取出; |
| 11、用户在使用过程中,突然停电,再来电时电能表根据表中用户的剩余金额进行拉闸或合闸(此项为特殊订制电能表特有功能); |
12、电能表显示标记含义:
|
四、校验
| 脉冲信号输出是无源的光耦输出,脉冲输出信号频率为3200个脉冲/kWh。 |
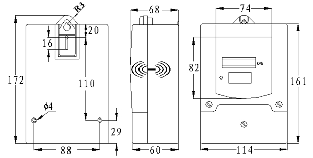
五、外形、安装尺寸与接线图
| 1、 外形、安装尺寸 |
|
| 2、接线图 |
|
六、运输与存储
| 1、电表在运输和拆封时不应受到剧烈冲击; |
| 2、电表应存放在原包装内,放在室内支架或隔板上,环境温度-25℃~+70℃,相对湿度不超过85%,空气中不应含有足以引起腐蚀的气体。 |






